Моделирование рабочих процессов погрузочно-транспортных модулей с учетом случайного характера внешних воздействий
Поцикловая продолжительность единичного черпания Тцj представляет собой случайную величину, состоящую в общем случае из ряда слагаемых. Для каждого типа ШПМ в сочетании с видом призабойного транспорта необходимо построить график последовательных и совмещённых перемещений погрузочного органа и машин во времени, а также учесть нормативные технологические перерывы, обусловленные взаимодействием
погрузочной машины с призабойным транспортом.
Основным фактором, влияющим на изменение продолжительности цикла Тцj, являются слагаемые продолжительности движения tдв и t¢дв, так как в процессе выгрузки штабеля длина перемещения машины изменяется.
Аналогичное влияние оказывает изменение во времени места разгрузки ковша (например, МПК-3 в сочетании с мини-составом). Для адекватного определения в модели формирования Тцjуказанных факторов необходимо прогнозировать схему выгрузки штабеля и изменение его положения относительно места разгрузки ковша. Решение такой задачи требует геометрического описания форм штабеля после взрывных работ и её изменения после очередного черпания.
Итак, общая структура математической модели поцикловой продолжительности единичного черпания должна включать следующие процедуры:
- положение ППТМ перед началом погрузки, включая форму и размер штабеля, расположение погрузочной машины и оборудования призабойного транспорта;
- схему выгрузки штабеля и изменение его положения по мере реализации единичных черпаний Vкj; изменение величин tдв и t¢дв в процессе выгрузки штабеля и загрузки вагонеток;
- определение продолжительности элементов цикла черпания по кинематическим характеристикам погрузочной машины (линейные и угловые скорости, линейные и угловые перемещения машины и погрузочного органа);
- построение временного графика цикла черпания с учётом возможного совмещения операций и необходимых технологических пере-рывов.
4.2 Математические модели поцикловой продолжительности единичных черпаний
В соответствии с вышеобоснованной структурой модели продолжительности единичных черпаний Тцj должны быть рассмотрены варианты погрузочно-транспортных модулей, представленные в таблице 4.1. Для каждого из вариантов ППТМ необходимо выполнить процедуры, состав которых обоснован в п. 4.1.
Ниже для примера рассматривается подробно вариант ППТМ в составе погрузочной машины на колёсно-рельсовом ходу с шарнирной поворотной рукоятью и одиночных вагонеток, прицепленных к машине.
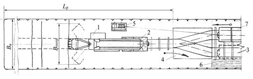
Возможна погрузка в одно- или двухпутевой выработке шириной Вв £ Впогр, где Вв – ширина выработки по почве, Впогр – ширина фронта погрузки ШПМ. Технологическая схема погрузочно-транспортного модуля (один из вариантов) приведена на рисунке 4.1, схема обмена вагонеток – на рисунке 4.2.
Представленная схема относится к числу широко применяемых при проведении двухпутевых выработок, обеспечивающих минимальные затраты времени на обмен гружёной вагонетки на порожнюю. Порядок функционирования ППТМ в период проходческого цикла – общеизвестен.
Рис. 4.1. Технологическая схема погрузочно-транспортного модуля ШПМ 1ППН-5 при погрузке в одиночные вагонетки (призабойная часть выработки):
1 – погрузочная машина; 2 – вагонетка под погрузкой;
3 – вагонетка, подготовленная к обмену; 4 – переносная врезная стрелка;
5 – маневровая лебёдка; 6 – проход для людей; 7 – маневровый локомотив
Рис. 4.2. Технологическая схема обмена вагонеток:
1 – погрузочная машина; 2 – вагонетка под загрузкой; 3 – порожняя часть состава;
4 – переносная врезная стрелка; 5 – маневровая лебёдка; 6 – гружёная часть состава;
7 – переносной съезд; 8 – электровоз маневровый (или тележка маневровая)
При формировании случайного потока черпаний Vкj и поцикловой продолжительности единичных черпаний Тцj в состав цикла входят следующие операции: цикл черпания – разгон машины, внедрение ковша в штабель, зачерпывание, подъём стрелы, разгрузка ковша, движение машины от штабеля, возвращение ковша в исходное состояние; цикл обмена вагонетки – прицепка, загрузка вагонетки, отцепка, перемещение гружёной вагонетки до стрелочного перевода маневровым локомотивом (с одновременным растягиванием каната маневровой лебёдки), прицепка к канату порожней вагонетки, подача вагонетки канатом к погрузочной машине, отцепка каната.
Каждая из перечисленных составляющих, по существу, является случайной величиной. Продолжительность концевых операций – прицепка, отцепка вагонетки – можно считать достаточно стабильными. Перемещение вагонетки к погрузочной машине и стрелочному переводу изменяется в связи с удлинением пути движения по мере выгрузки штабеля. Кроме того, в каждом проходческом цикле расстояние
увеличивается на величину подвигания забоя за цикл. Определим элементы цикла, необходимые для решения задачи.
Минимальное расстояние Lp.min:
Lp.min = Lшт + Lм + Lэ + Dlм,
где Lшт – длина штабеля, м; Lм – длина машины с прицепленной вагонеткой, м; Lэ – длина электровоза или маневровой тележки, м; Dlм – необходимый запас для маневрирования, м (Dlм = 2,5–3 м).
Максимальное расстояние от стрелочного перевода до забоя определяется принятым шагом переноски стрелочного перевода и съезда Lпер. Величина Lпер определяет продолжительность обмена гружёной вагонетки на порожнюю: чем больше Lпер, тем больше времени затрачивается на перемещение гружёной и порожней вагонеток. Вместе с тем, с увеличением Lпер снижаются удельные затраты на перенос стрелки и съезда. Таким образом, определение рационального значения Lпер – это технико-экономи-ческая задача, выходящая за рамки настоящей работы. Как правило, принимают Lпер = 50–70 м. Тогда длина откатки составит: при минимальном расстоянии Lp.min погрузка у начала штабеля Lотк.1 = Dlм; то же при погрузке у забоя Lотк.2 = Dlм + Lшт; при максимальном расстоянии Lp.max погрузка у начала штабеля Lотк.3 = Dlм + Lпер, то же при погрузке у забоя:
Lотк.4 = Dlм + Lшт +Lпер.
Следовательно, продолжительность циклов черпаний Тцj изменяется в широких пределах как внутри конкретного цикла, так и между ними. Если принять, что продолжительность концевых операций Dtк по обмену вагонетки – прицепка, отцепка, прохождение стрелочного перевода в каждом процессе обмена вагонетки – величина примерно постоянная, то общая продолжительность составит Dtобм = Dtк + tдв.гр + tдв.пор, где tдв.гр, tдв.пор – длительность движения гружёной, порожней вагонетки в процессе обмена. Полагая
получим общую продолжительность несовмещённых операций обмена, отнесённых к одной вагонетке:
tобм = Dtк + Lотк [(1/uср.гр) + (1/uср.пор)],
где uср.гр, uср.пор – средняя скорость перемещения вагонетки в призабойной зоне – гружёной, порожней.
Другие рефераты на тему «Транспорт»:
- Расчет экономической эффективности от внедрения в ремонтный процесс приспособления для восстановления коленчатого вала двигателя автомобиля ВАЗ
- Проектирование автомобильной дороги
- Проект производства работ на строительство автомобильной дороги
- Измерения и неразрушающий контроль на железнодорожном транспорте
- Привод специальный
Поиск рефератов
Последние рефераты раздела
- Проект пассажирского вагонного депо с разработкой контрольного пункта автосцепки
- Проектирование автомобильных дорог
- Проектирование автотранспортного предприятия МАЗ
- Производственно-техническая база предприятий автомобильного транспорта
- Расчет подъемного механизма самосвала
- Системы автоблокировки
- Совершенствование организации движения и снижение аварийности общественного транспорта в городе Витебск
