Песочная система тепловоза
Движение тепловоза начинается при полном возбуждении тяговых электродвигателей (контакторы ослабления поля ВШ1, ВШ2 выключены). Ток от плюса генератора по проводам 531 – 536 через замкнутые контакты П1-П6 поступает к тяговым электродвигателям. Для первого электродвигателя цепь будет проходить через контакт П1 к обмотке якоря двигателя 1, по замкнутому контакту реверсора ПР, по обмотке возбужден
ия двигателя 1, по замкнутому контакту реверсора ПР и далее по проводу 604, через шунт килоамперметра 104, по проводам 598 – 603 к обмоткам дополнительных полюсов тягового генератора и на минус генератора. По другим тяговым электродвигателям ток проходит аналогично первому.
Положение реверсивных контактов показано для движения «вперед». При этом зажимы ЯЯ якорей электродвигателей 1,2,4 соединяется с зажимами К соответствующих обмоток возбуждения этих электродвигателей, а зажимы ЯЯ якорей электродвигателей 3,5,6, соединяются с зажимами КК соответствующих обмоток возбуждения.
Такое соединение вызвано взаимообратным расположением указанных групп двигателей (осью колесной пары вперед или двигателем вперед) на осях, тем самым обеспечивается вращение всех колесных пар в одном направлении.
При установке реверсора в положение «назад» замыкаются другие пары контактов реверсора, ток в обмотках возбуждения тяговых электродвигателей меняет свое направление и изменяет направление вращения электродвигателей.
При разгоне тепловоза до скорости 35-40км/ч (ток главного генератора 3050-3100 А) на ХV позиции рукоятки контроллера включается реле перехода РП1, а затем групповой контактор ВШ1. До включения ВШ1 ток в обмотках возбуждения электродвигателей был равен току, проходящему через якорь. После включения ВШ1 параллельно обмоткам возбуждения подключается первая группа сопротивлений шунтировки поля СШ1-СШ6. При этом токи, проходящие через якоря электродвигателей, разветвляются на две цепи. В двигателе 2 одно ветвь: провод 577, обмотка К-КК, провода 576, 605 и далее на минус генератора: вторая ветвь - провода 559,556, контактор ВШ1, провод 662, сопротивление СШ1, провода 660, 605 и также на минус генератора. Ток, протекающий при этом через обмотку возбуждения электродвигателя, составляет примерно 60% полного тока якоря.
При достижении скорости 55-60км/ч (соответствует току главного генератора 2850-2900 А) на ХV позиции рукоятки контроллера машиниста включается второе реле перехода РП2, которое включает групповой контактор ВШ2. Параллельно обмоткам возбуждения двигателей подключается дополнительно вторая группа сопротивлений СШ1-СШ6. В этом случае по обмоткам возбуждения протекает ток примерно 37% полного тока якорей. Схема управления обеспечивает последовательное включение первой, а затем второй ступени ослабления поля тяговых электродвигателей.
Контроллер машиниста
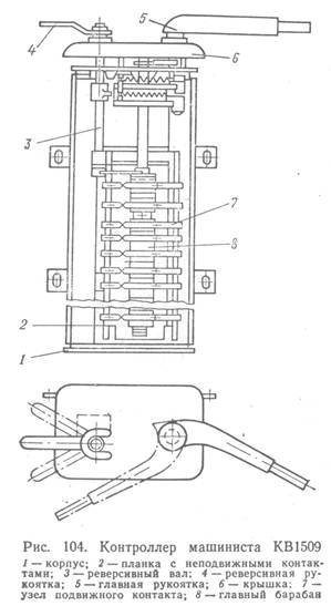
Дистанционное управление электрической передачей тепловоза осуществляется контроллером машиниста типа КВ-1509.
При переключении реверсивной рукоятки контроллера изменяется направление движения тепловоза. При изменении положения главной рукоятки контроллера меняется скорость вращения вала дизеля, а следовательно, и его мощность. Контроллер КВ-1509 создан на базе контроллера типа КВ16А-12, примененного на тепловозе ТЭ3, большинство деталей и узлов этих контроллеров унифицировано. Полностью унифицированы: главная и реверсивная рукоятки, корпус, нижняя крышка, устанавливаемая на корпусе, планки с подвижными и неподвижными контактами, сами контакты, реверсивный вал, детали узлов фиксации и блокировки, шестерня и сектор узла передачи вращения от главной рукоятки к главному валу, все детали главного вала, за исключением нескольких кулачковых шайб.
Контроллер состоит из сварного корпуса, двух литых крышек, главного и реверсивного барабанов, двух изоляционных планок с набором подвижных и неподвижных контактов.
На вал главного барабана набираются кулачковые шайбы, посредством которых осуществляется замыкание и размыкание подвижных контактов в определенной последовательности.
Главный и реверсивный валы фиксируются насаженными на них храповиками. Фиксация храповика на каждой позиции рукоятки осуществляется специальными рычагами и пружинами.
Между верхней и нижней крышками вмонтирована зубчатая передача состоящая из насаженной на конец вала главного барабана шестерни и зубчатого сектора, расположенного на отдельном валу, на выступающем конце которого крепится главная рукоятка. Механическая блокировка исключает перемещение реверсивной рукоятки на ходовых положениях главной и перемещение главной рукоятки на нулевом положении реверсивной рукоятки. Это обеспечивается фиксатором, расположенным между храповиками главного и реверсивного барабанов.
Реверсивная рукоятка выполнена съемной, причем снять ее можно только при нулевом положении главной рукоятки.
Контактная система контроллера пальцевого типа. Подвижный контакт состоит из угольника, закрепленного на изоляционной панели, рычага с роликом, перемещающегося по поверхности кулачковой шайбы, что позволяет включать и выключать контакт, а также гибкого соединения, обеспечивающего контакт с местом присоединения контактных пружин и неподвижного контакта. Неподвижный контакт крепится на второй изоляционной панели.
Техническая характеристика контроллера КВ-1509
Напряжение 75 В
Длительный ток 10 А
Разрыв контактов 6-8 мм
Притирание контактов 2,5 »
Нажатие контактов 0,34-0,45 кгс
Поворот главной рукоятки 115
Поворот реверсивной рукоятки в обе стороны от нулевого положения 30
Поворот главного барабана 230
Количество элементов главного барабана 12
Количество элементов реверсивного барабана 2
Число позиций:
главного барабана 15
реверсивного барабана 3
Масса аппарата 26 кг
Литература
«Тепловоз 2Т10Л» «Тепловозное хозяйство»
В.Р. Степанов, В.А. Гутковский, В.А. Береза, С.Я. Айзинбуд, В.Е. Верхогляд, В.Н. Казаков, А.И. Вассер, П.К. Крюгер, Г.Г. Зенцев, Б.И. Вилькевич, А.Н. Коняев М.Н. Беленький, В.П. Колесников, Г.С. Миленин, В.С. Марченко, С.В. Осипов, Д.А. Притыкин, Г.А. Пупынин, В.Н. Ткачук, Е.В. Турчак.
Другие рефераты на тему «Транспорт»:
- Организация работы аккумуляторного участка
- Технико-экономическое обоснование производства автомобильных покрышек
- Эффективность воздушного транспорта и его основные показатели функционирования
- Определение параметров транспортного потока на регулируемом перекрестке
- Расчет поездной радиосвязи, дальности связи в гектометровом, метровом и дециметровом диапазонах
Поиск рефератов
Последние рефераты раздела
- Проект пассажирского вагонного депо с разработкой контрольного пункта автосцепки
- Проектирование автомобильных дорог
- Проектирование автотранспортного предприятия МАЗ
- Производственно-техническая база предприятий автомобильного транспорта
- Расчет подъемного механизма самосвала
- Системы автоблокировки
- Совершенствование организации движения и снижение аварийности общественного транспорта в городе Витебск
