Многовибраторная антенная решетка с рефлектором 16х4 эт
2.3 Антенны с апериодическим рефлектором
Апериодический рефлектор (РА) представляет собой плоский экран, выполненный из горизонтальных проводов, параллельных осям вибраторов, и устанавливаемый сзади антенны на расстоянии dp= (0,25÷0,3)
. Размеры экрана несколько превосходят размеры полотна анте
нны. Апериодический рефлектор позволяет по сравнению с настроенным рефлектором значительно уменьшить уровень излучения в обратном направлении, что весьма важно для уменьшения взаимных помех радиостанций. Для этого расстояние между проводами экрана должно быть примерно (0,035÷0,07)
. Важнейшим достоинством антенны с апериодическим рефлектором являются отсутствие элементов настройки последнего и возможность одновременной работы на одной антенне в двух противоположных направлениях.
Недостатками многовибраторной антенны с апериодическим рефлектором являются сложное конструктивное выполнение и почти полное отсутствие «электрической прозрачности» (возможность прохождения электромагнитных волн, излучаемых другими антеннами), что может вызывать трудности при размещений нескольких антенн на ограниченной площади.
2.4 Описание конструкции
Синфазная горизонтальная антенна (рис.3) относится к группе настроенных остронаправленных антенн. Обозначается антенна СГ
, что означает: синфазная горизонтальная антенна, имеющая п этажей, в каждом из которых находится р полуволновых вибраторов. При наличии рефлектора обозначение дополняется буквами РА(рефлектор апериодический) или РН(рефлектор настраиваемый).
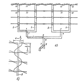
Рис. 3. Синфазная горизонтальная антенна. а) - схема питания, б) - распределение напряжения в фидере одной секции вибратора.
Конструкция многовибраторной антенной решётки должна удовлетворять следующим требованиям.
-необходимо обеспечить надежное крепление всей системы вибраторов;
-вибраторы по возможности должны занимать в пространстве горизонтальное положение (не провисать), а их взаимное расположение должно строго фиксироваться (расстояние между этажами b=
и между центрами вибраторов по горизонтали
).
-вибраторы должны быть тщательно изолированы друг от друга и от земли.
-необходимо обеспечить возбуждение всех вибраторов в фазе и с равной амплитудой тока.
-механическое крепление вибраторов должно быть увязано с системой питания антенны (рис.3, а).
Фидер от генератора в точках 5-6 разветвляется на две линии, каждая из которых в точках 1-2, 3-4 подключается к двухпроводным линиям 9, непосредственно подводящим питание к вибраторам. Так как каждый вибратор имеет электрическую длину в полволны, то в точках подключения линии к вибраторам находятся пучность напряжения и узел тока, а следовательно, в данном случае входное сопротивление вибратора велико и больше волнового сопротивления линии. В результате в линии 9 наряду с бегущими волнами возникают стоячие. Как видно (рис. 3, б), одноименные вибраторы соседних этажей подключаются к противоположным проводам линии питания. Поскольку расстояние между этажами
, стоячие волны в линии питания обеспечивают синфазное возбуждение вибраторов. Для облегчения согласования антенной системы длина участков фидера от сечений 1-2, 3-4 до сечения 5-6 (рис. 3, а) должна быть одинаковой и кратной
. Основой для крепления антенны являются свободно стоящие металлические башни или деревянные мачты с оттяжками (рис. 4). Вибраторы каждого этажа механически соединяются между собой изоляторами 10, 11, причем изоляторы 10 имеют специальную (крестообразную) форму, позволяющую фиксировать взаимное расположение проводов линии 9 и получить перекрещивание в схеме питания для синфазного возбуждения вибраторов. Крайние вибраторы каждого этажа соединяются, со стальными тросами 12, которые через блоки 14 создают натяжение соответствующего ряда вибраторов.
В многовибраторных антеннах этого обычно недостаточно для того, чтобы исключить провисание горизонтальных проводов. В таких случаях конструкцию дополняют верхним стальным тросом 15, называемым леером, к которому через вертикальные тросы 13 подвешиваются линии питания 9, Снизу эти линии прикрепляются к тросам 16, которые, так же как тросы 12, натягиваются через блоки.
Для компенсации емкости изоляторов между вибраторами последние дополнительно укорачивают. Обычно длина вибратора меньше половины длины волны на 3—8%. Вибраторы и линии питания должны быть тщательно изолированы от тросов. Кроме того, тросы необходимо разбить на небольшие участки с целью исключения паразитного резонанса. Для этого предназначены изоляторы 17,
Таким образом, многовибраторная антенна конструктивно представляет собой жесткую систему, которую в соответствии с ее внешним видом называют полотном или решеткой вибраторов.
Рефлектор антенны является полной аналогией собственно антенны. Полотно рефлектора (не показанное на рис. 4) расположено параллельно полотну антенны на расстоянии (0,25λ) от него. Рефлектор так же может быть активным. Питание антенны с активным рефлектором показано на рис. 5. Для создания сдвига фаз в 900 между токами антенны и рефлектора, в цепь антенны включается линия длиной равная λ/4. для поглощения отраженных от антенны волн на расстоянии λ/4 от точек включения фидера ставятся баластны сопротивления R.
Рис. 4. Крепление полотна вибраторов синфазной горизонтальной антенны.
Рис. 5. Схема питания антенны с активным рефлектором.
3. Расчетная часть
3.1 Расчет входного сопротивления антенны
Сопротивление излучения RΣп каждого полуволнового вибратора антенны, отнесенное к пучности тока, находят как сумму собственного сопротивления и сопротивлений, наведенных всеми остальными вибраторами антенны и рефлектора. Сопротивление излучения антенны равно сумме сопротивлений излучения всех вибраторов антенны. Тогда можно записать формулу усредненного сопротивления излучения полуволнового вибратора:
(3.1) [4]
Где
- сопротивление излучения антенны
Если количество вибраторов в этаже или ряде превышает 8, то их можно не учитывать, так как их наведенные сопротивления излучения очень малы.
Конструкция антенны идентичная конструкции рефлектора п х р=4 х 16, где п – количество этажей, р – количество полуволновых вибраторов в этаже. В данном случае количество вибраторов в этаже превышает 8, учитывая сказанное выше, рассчитаем сопротивление излучения для решетки 4 х 8.
Другие рефераты на тему «Коммуникации, связь и радиоэлектроника»:
- Комплекс измерения параметров обратного канала
- Волновая резонансная теория
- Разработка предложений по использованию населением информационно-телекоммуникационных услуг связи на примере Нижнекамского районного узла электрической связи
- Расчет параметров цифровых систем передачи непрерывных сообщений
- Универсальный вольтметр В7-26
Поиск рефератов
Последние рефераты раздела
- Микроконтроллер системы управления
- Разработка алгоритмического и программного обеспечения стандарта IEEE 1500 для тестирования гибкой автоматизированной системы в пакете кристаллов
- Разработка базы данных для информатизации деятельности предприятия малого бизнеса Delphi 7.0
- Разработка детектора высокочастотного излучения
- Разработка микропроцессорного устройства для проверки и диагностики двигателя внутреннего сгорания автомобиля
- Разработка микшерного пульта
- Математические основы теории систем
