Основные приборы и механизмы тягового электровоза
Рис.7. Контактор кулачковый КЭ-153
Рычаг отжимается пружиной 9 в сторону замыкания подвижного контакта 4 с неподвижным 3. Подвижной контакт замыкается с неподвижным с притиранием благодаря упругости специально выбираемой конструкции держателя 5 подвижного контакта. Латунные выводы 1 контактов закреплены на основании кон
тактора. Контакты контактора нормально замкнуты. Если под ролик 8 подходит выступающая часть кулачковой шайбы — он отжимается, рычаг поворачивается и контакты размыкаются. Все контактные поверхности обычно посеребрены.
Вывод:
Исследовали контроллер машиниста КМЭ-70, его назначение, устройство и принцип действия
Цель работы:
Исследовать устройство и принцип действия блока дифференциальных реле БРД
Порядок работы:
1. Назначение
2. Устройство
3. Принцип действия
4. Рисунок
5. Вывод
Рис.1. Внешний вид
Назначение
На электровозах для защиты электрооборудования от токов короткого замыкания на вторичной стороне тягового трансформатора используется дифференциальная защита. Основным органом ее является блок БРД (блок реле дифференциальной защиты). При аварийном режиме ток в силовой цепи резко возрастает. Блок БРД постоянно контролирует скорость возрастания тока. Если она превышает наибольшую, которая может быть в рабочем режиме, то он срабатывает и своими контактами воздействует на отключающий механизм ГВ.
Устройство и принцип действия
Он состоит из двух одинаковых электромагнитных реле 3 и 7. Якорь 2 реле, с которым связан рычаг 5, переключающий контакты 6, постоянно отжимается
пружиной 1 вверх. На магнитопроводе реле помещена удерживающая (она же и включающая) катушка 4. Катушки обоих реле соединены
последовательно и получают питание от напряжения 50 В. Ток в их цепи, ограниченный резисторами r 34 и r35, достаточен для удержания якорей
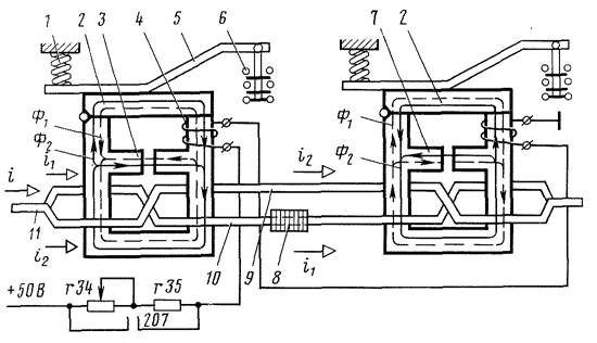
Рис.2. Устройство блока дифференциальных реле
притянутыми и недостаточен для их притягивания. При восстановлении реле резисторы замыкаются накоротко контактом реле 207, что происходит при нажатии кнопки «Включение ГВ и возврат реле». Ток удерживающих катушек возрастает, якоря притягиваются. Включенное положение обоих реле свидетельствует о готовности защиты, что автоматически контролируется включенным положением главного выключателя, так как в цепь его удерживающей катушки введены контакты обоих реле.
Шина 11 разрезана на две части — параллельные ветви 10 и 9. Сквозь окна магнитопроводов каждого реле эти ветви пропущены одна навстречу другой. В случае если через блок дифференциальных реле протекает постоянный и неизменный по значению ток, то общий ток i делится между цепями примерно поровну: i = i1 + i2, a i1 = i2. Магнитные потоки Ф1 и Ф2, вызванные соответственно токами i1 и i2, равны и противоположно направлены, т. е. взаимно компенсированы. Результирующий поток в магнитной системе каждого реле определяется лишь магнитным потоком удерживающей катушки. Магнитные потоки Ф удерживающих катушек направлены по часовой стрелке (чтобы не загромождать рисунка, они не показаны). В реле 3 поток Ф совпадает с магнитным потоком Ф2, а в реле 7—с магнитным потоком Ф1. Взаимная компенсация потоков Ф1 и Ф2 происходит при условии, что через шину 11 протекает постоянный и неизменный по значению ток i.
Теперь представим, что ток i, протекающий через блок слева направо, быстро возрастает. На одну шинку (с током i1) посажен пакет стальных шайб, и индуктивность ее больше, чем другой шинки (с током i2). Поэтому ток i1 нарастает значительно медленнее, чем ток i2. Соответственно и магнитные потоки Ф2 в обоих реле возрастают значительно быстрее, чем потоки Ф1. Поэтому в обоих реле появится поток, равный разности Ф2 - Ф1 и направленный так же, как поток Ф2.
В магнитопроводе реле 3 магнитный поток Ф2 совпадает с потоком Ф от удерживающей катушки. Следовательно, результирующий поток в реле 3 будет увеличиваться и якорь реле будет притягиваться к магнитопроводу с еще большим усилием. Одновременно в магнитопроводе реле 7 магнитный поток Ф2 направлен противоположно магнитному потоку Ф. Следовательно, ![]()
![]()
![]()
![]()
![]()
![]()
результирующий поток в реле 7 будет уменьшаться и якорь под воздействием пружин отпадет от сердечника реле 7.
Если через БРД будет протекать нарастающий ток в обратном направлении—справа налево, то произойдет обратное: якорь реле 7 будет притягиваться к сердечнику с большей силой, а якорь реле 3 отпадет, т. е. сработает реле 3. Аналогичное соотношение магнитных потоков в реле будет и в случае быстро уменьшающегося тока в БРД.
Блок БРД контролирует не значение протекающего через него тока, а лишь скорость его изменения: одним реле — в одном направлении, другим реле — в другом. Блок БРД срабатывает при разности токов в силовых витках 500 А. Время срабатывания — от момента достижения током уставки до начала соприкосновения размыкающих контактов в цепи переменного тока— при скорости нарастания силового тока 1,3-106 А/с составляет 0,01 с.
Если через БРД протекает медленно возрастающий, медленно уменьшающийся или вообще неизменный ток, ни одно его реле не сработает.
При отпадании якоря любого из двух реле БРД контакты этого реле выполняют три операции: замыкают цепь отключающей катушки ГВ, размыкают цепь его удерживающей катушки и замыкают цепь красной сигнальной лампы.
Рис.3. Блок дифференциальных реле
Блок БРД (рис. 3) содержит два реле со специальной ошиновкой. На одной из шин поставлен пакет стальных шайб 8. Каждое реле состоит из шихтованного магнитопровода 1, якоря 5, катушки 7, контактов 6. Якорь может поворачиваться на оси 4. Одним концом он производит переключение контактов. На другой его конец действует отключающая пружина, усилие которой регулируют гайкой. Реле закрыто прозрачным кожухом. Силовая шина 2 с индуктивным шунтом с помощью клиц укреплена на каркасе, который состоит из двух панелей 3, скрепленных шпильками.
На верхней панели размещены добавочные резисторы и выводы. Размыкающие и замыкающие контакты сгруппированы в одном блоке.
Вывод
Исследовали устройство и принцип действия блока дифференциальных реле БРД
Цель работы:
Исследовать силовые электрические цепи электровозов постоянного тока
Порядок работы:
1. Назначение
2. Принцип действия
3. Схема
4. Вывод
Назначение
Другие рефераты на тему «Транспорт»:
- Электроснабжение городского электрического транспорта
- История развития городского транспорта (на примере города Санкт-Петербурга)
- Транспортно-экспедиционное обслуживание
- Сущность транспортировки грузов в аэропортах
- Проектирование зоны технического обслуживания грузовых автомобилей, предназначенной для проведения слесарно-механических работ в плановом порядке
Поиск рефератов
Последние рефераты раздела
- Проект пассажирского вагонного депо с разработкой контрольного пункта автосцепки
- Проектирование автомобильных дорог
- Проектирование автотранспортного предприятия МАЗ
- Производственно-техническая база предприятий автомобильного транспорта
- Расчет подъемного механизма самосвала
- Системы автоблокировки
- Совершенствование организации движения и снижение аварийности общественного транспорта в городе Витебск
