Основные приборы и механизмы тягового электровоза
Проследим, как происходит отключение контактора с дугогашением. Когда под ролик подходит выступ кулачковой шайбы, рычаг 6 начинает поворачиваться против часовой стрелки. Сначала, при небольшом повороте рычага, размыкаются нижние контакты 16, а верхние благодаря тому, что одновременно повернулся рычаг 10 на оси 02, остаются замкнутыми. В результате дальнейшего накатывания ролика на кулачковую, ш
айбу и поворота рычага 6 против часовой стрелки рычаг 10 упирается в верхний конец 11 рычага 6, и тогда начинается размыкание верхних контактов.
В процессе включения контакторного элемента все операции происходят в обратном порядке. Когда к ролику подходит впадина кулачковой шайбы, рычаг 6 вместе с рычагом 10 поворачивается по часовой стрелке. В результате замыкаются сначала верхние контакты, а затем нижние.
В процессе отключения контакторного элемента сначала размыкаются токонесущие контакты, и дуга между ними практически не образуется, так как в это время существует обходная электрическая цепь через разрывные контакты. Затем размыкаются разрывные контакты, и между ними образуется дуга. Эти контакты размещают в дугогасительной камере, которая находится между магнитными полюсами.
Дугогасительная камера ограничивает область распространения дуги, предупреждая переброс ее на соседние контакторы контроллера. В камере осуществляется разрыв и гашение дуги.
Таким образом, и размыкание цепи под нагрузкой, и замыкание ее осуществляют верхние контакты (рис. 3б). Чтобы в какой-то мере уменьшить повреждение контактов, их изготовляют из тугоплавкого материала, который может выдерживать высокие температуры, возникающие при горении электрической дуги. В качестве такого материала применяют металлокерамическую композицию МВ-70 (медь — 27%, никель — 3,5% и вольфрам — 69,5%). Но такие контакты, имея сравнительно большое сопротивление, не могут длительно пропускать большой ток, так как они сильно перегреваются.
Поэтому предусмотрены нижние токонесущие, или, как их иногда называют, главные контакты, через которые протекает почти весь ток контакторного элемента. Изготовлены они из материала с малым переходным сопротивлением — металлокерамической композиции СОК-15 (серебро — 85%, окись кадмия—15%). Когда контакторный элемент включен, обе пары контактов замкнуты и для тока существуют две цепи: через верхние разрывные и через нижние токонесущие контакты. Однако сопротивление разрывных контактов значительно больше, чем токонесущих. Поэтому основная часть тока протекает через нижние контакты и лишь очень небольшая часть — через верхние.
Детали каждого контакторного элемента с дугогашением скомпонованы между двумя изоляционными боковинами 2 (рис. 3 а и в), которые являются несущими элементами конструкции. Боковины крепят к двум продольным изолированным рейкам с помощью полухомута и прижима, что позволяет просто и быстро снимать контакторный элемент с контроллера.
Разрывные контакты находятся в зоне магнитного поля, создаваемого в магнитопроводе 15 витками 14. Направление магнитного потока обеспечивает выталкивание образующейся между контактами дуги вверх в дугогасительную камеру 13. Этому помогает и струя сжатого воздуха, подаваемого снизу вверх. В дугогасительной камере помещена деионная решетка, которая делит дугу на ряд последовательных дуг и тем самым ускоряет гашение. Чтобы предотвратить разрушение шарнирных соединений при протекании больших токов, шарнир рычага 10 с фигурным рычагом 6 шунтирован гибким проводом 8. Гибким проводом 3 подводится ток к подвижному рычагу 6.
Рис.4. Контакторный элемент без дугогашения
Контакторный элемент без дугогашения предназначен для замыкания и размыкания обесточенных электрических цепей. Поэтому в отличие от контакторного элемента с дугогашением он не имеет разрывных контактов и дугогасительной системы. Контакты его так же, как и токонесущие контакты элемента с дугогашением, снабжают напайками нз композиции СОК-15, имеющими малое переходное сопротивление.
Детали контакторного элемента без дугогашения, как и элемента с дугогашением, собраны на боковине 2 (рис. 4). Пружина 1 отжимает рычаг 3 в направлении поворота его вокруг оси 4 по часовой стрелке, что приводит к замыканию подвижного контакта 6 с неподвижным. Компенсатор 5 играет такую же роль, как и в контакторе с дугогашением. Крепление всех контакторных элементов унифицировано. Винтом хомут 7 прижимается к верхней рейке контроллера, обхватывая ее. Нижняя часть контактора опирается на нижнюю рейку контроллера и снизу крепится хомут (на рисунке не показан).
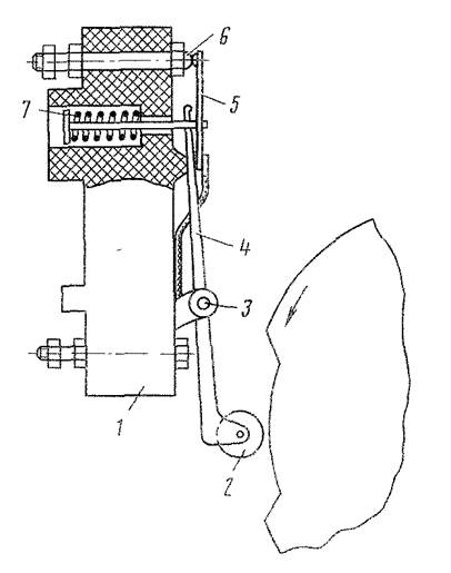
Блокировочные контакторные элементы (блок-контакты) осуществляют замыкания и размыкания в цепях управления на заданных позициях контроллера под током при напряжении 50 В. Поскольку при такой небольшой мощности возникающая дуга (точнее, искрение) быстро гаснет, то на блок-контактах нет необходимости предусматривать устройства для гашения дуги. Конструкция этих элементов несложна. На изолированном основании 1 (рис. 5) жестко укреплен неподвижный контакт 6, на оси 3—рычаг 4 с держателем 5 подвижного контакта. Рычаг состоит из двух частей, что обеспечивает притирание контактов при их замыкании. Сжатая пружина 7 стремится повернуть рычаг против часовой стрелки, т. е. замкнуть контакты. Однако будут контакты замкнуты или разомкнуты, зависит от того, в каком положении находится кулачковая шайба. Если под роликом 2 находится впадина кулачковой шайбы, контакты будут замкнуты, если — выступ, то разомкнуты.
Рис.5. Устройство блокировочного контакторного элемента
Кулачковые шайбы прессуют из пластмассы АГ-4, получая готовый профиль, не требующий дополнительной обработки. На внутреннем отверстии шайбы контакторных элементов без дугогашения сделано десять шпоночных пазов, благодаря чему шайба может быть поставлена на кулачковый вал в одно из десяти положений.
Привод главного контроллера. Кулачковые валы контакторных элементов и одновременно кулачковые валы блок-контактов приводятся во вращение электродвигателем работающим при напряжении цепи управления 50 В. Между этим двигателем и кулачковыми валами поставлены предельная муфта и редуктор. Предельная муфта предотвращает в случае какого-либо аварийного заклинивания привода или кулачковых валов (например, прн попадании посторонних предметов) поломку привода. При заклинивании она проскальзывает и вращающий момент от двигателя не передается редуктору и кулачковым валам.
Основное назначение редуктора — преобразование равномерного вращения якоря двигателя в неравномерное вращение кулачковых валов контроллера. С одной стороны, для того, чтобы на размыкающихся контактах не возникала устойчивая дуга, они должны расходиться быстро и соответственно кулачковый вал во время размыкания контактов должен вращаться быстро. С другой стороны, после того, как переключения закончились и установлена фиксированная позиция, кулачковый вал должен сразу остановиться (чтобы не «сбить» позицию), несмотря на продолжающееся по инерции вращение двигателя и зубчатых передач.
Другие рефераты на тему «Транспорт»:
- Судовые двигатели внутреннего сгорания
- Вторичные ресурсы в автомобильном хозяйстве и требования к ним
- Общая характеристика технологических процессов обеспечения работоспособности автомобилей
- Планетарный механизм поворота трактора ДТ-75М
- Организация технического обслуживания машинно-тракторного парка Янаульской МТС
Поиск рефератов
Последние рефераты раздела
- Проект пассажирского вагонного депо с разработкой контрольного пункта автосцепки
- Проектирование автомобильных дорог
- Проектирование автотранспортного предприятия МАЗ
- Производственно-техническая база предприятий автомобильного транспорта
- Расчет подъемного механизма самосвала
- Системы автоблокировки
- Совершенствование организации движения и снижение аварийности общественного транспорта в городе Витебск
