Оптимальная волноводно-щелевая решетка
(6)
Находим ширину щели
При выборе ширины щели должен обеспечиваться 2-3-кратный запас на электрическую прочность по пробивному запасу напряженности поля для середины щели, где напряженность поля между ее краями Ещ максимальна.
(7)
Где Umax – амплитуда напряженности в пучности
щели,
Ещ – предельгное значение напряженности поля, при котором наступает пробой (для воздуха при н.у. Епр=30 КВ/см)
(8)
Где Р=1 КВт –подводимая к антенне мощность, gщ=13мСм – проводимость излучения щели, N – число щелей в антенне.
Выражаем и находим ширину щели
(9)
Определим смещение центра щели относительно оси волновода
и длину щели l
Используя условие для согласования (6) , выразим параметр х1 для продольных шелей из эквивалентной проводимости.
(10)
получим
м (11)
Длина щели определяетса из графика л.[3]. Зависимость резонансной длины продольной щели от ее смещения .
Дольф-Чебышевское распределение
Дольф-Чебышевское распределение запишится в следуюшем виде :
(12)
порядок полинома Чебышева для данной задачи будет равен n=15
Находим параметр
- определяющий уровень боковых лепестков относительно главного и ширину диаграммы направленности 2qо.
(13)
Находим распределение тока в антенне. Т.к. число излучателей больше 20, это распределение можно найти с помощью приближенной формулы
(14)
Где
Zn-расстояние от начала координат до n-го излучателя, L – полная длина антенны.
По формуле 14 определяются токи во всех излучателях, кроме крайних. Краиние токи вычисляются по формуле 15.
(15)
![]() |
![]() |
Расчет диаграммы направленности
Зависимость напряженности поля от угловых координат представляет собой диаграмму напрвленности антенны и для данного случая будем определять функцией Чебышева 15 порядка используя формулу (12) , где
Рис.2 Диаграмма направленности ВЩР в Н-плоскости.
Рис.3 Диаграмма направленности ВЩР в Н-плоскости.
Оптимальная ширина диаграммы направленности
Коэффициент направленного действия
КНД Дольф-Чебышевских решеток может быть определен по известному распределению тока в излучателях с помощью формулы
(16)
Коэффициент полезного действия ВЩР
КПД решетки излучателей определяется выражением
(17)
Где Ро – мощность на входе антенны, РL - мощность в конце антенны, L – длина антенны, aS - суммарное затухание в волноводе [Дб/м].
(18)
s=5.8*107 - удельная проводимость меди.
Коэффициент усиления антенны
Коэффициент усиления ВЩР может быть расчитан по общеизвестной формуле
(19)
Расчет системы возбуждения волновода
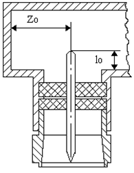
Зондовый переход , схема которой преведена на рис 4. Расчет зонда
Рис. 4 Зондовый переход
ведется из условия его согласования с коаксиальной линией и волноводом.Для этого следует найти его длину
из системы уравнения
(20)
где zo, xo –положение зонда в волноводе, lo –его длина,
-волновое сопротивление кабеля 75 Ом,
- волновое сопротивление зонда
Так как неизвестных величин три, то задаются одной из них. Для решения (20) задают zo=0.19
=0.751 см, тогда lo рассчитывают по формуле (21)
(21)
решив формулу относительно lo ,получим
см
Зондовый переход цилиндрической формы узкополосен. Диаметр зонда d берут равным (0.10-0.15)а ,а r для определения
считают равным 0.75d. Волновое сопротивление зонда
будет
Другие рефераты на тему «Коммуникации, связь и радиоэлектроника»:
- Паяные соединения. Технология магнитных дисков. Коммутационные устройства
- Электрические станции сети и системы
- Проектирование системы автоматического слежения
- Расчет приемника для связной УКВ радиостанции
- Разработка системы непрерывного управления координатами электропривода с заданными показателями качества
Поиск рефератов
Последние рефераты раздела
- Микроконтроллер системы управления
- Разработка алгоритмического и программного обеспечения стандарта IEEE 1500 для тестирования гибкой автоматизированной системы в пакете кристаллов
- Разработка базы данных для информатизации деятельности предприятия малого бизнеса Delphi 7.0
- Разработка детектора высокочастотного излучения
- Разработка микропроцессорного устройства для проверки и диагностики двигателя внутреннего сгорания автомобиля
- Разработка микшерного пульта
- Математические основы теории систем


