Автомобильный кран
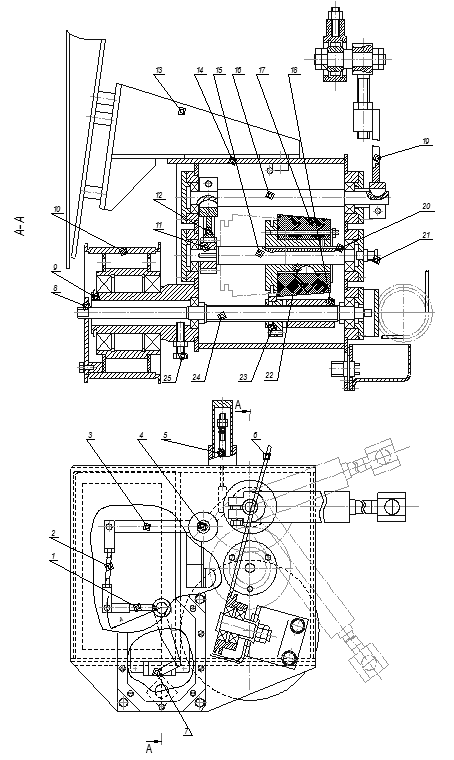
На валике 15 установлена шестерня 11 сцепленная с зубчатым сектором 12, закрепленным на валике 16, на другом конце которого на шпонке посажен рычаг 19. На оси 4 установлен трехплечий рычаг 3. На одном плече рычага завальцован шарик, на втором установлена тяга 2, соединяющая его через поводок 1 с осью потенциометра 7, а к третьему — подсоединена пружина 5, поднимающая шарик к поверхности кулачка
17. Гайка 18 канатом 6, проложенным по системе блоков, соединена с рычагом указателя грузоподъемности. Для стопорения валиков 15, 24 предусмотрены болты 21 и 25.
Выдвижение (уменьшение длины) стрелы через канаты механизма ввода длины стрелы приводит к вращению барабана 10, который через поводок 8 передает вращение валику 24. Вращение валика 24 вызывает перемещение вдоль оси гайки 18, тем самым, воздействуя на втулку 22 с кулачком 17. Одновременно перемещение гайки 18 через канат 6 вызывает отклонение рычага указателя грузоподъемности.
При подъеме (опускании) стрелы поворот рычага 19 через зубчатый сектор 12 и шестерню 11 приводит к повороту кулачка 17. Перемещение и поворот кулачка 17 приводят к повороту трехплечего рычага 3, поводка 1 и к перемещению щетки потенциометра, который выдает в электрическую цепь ограничителя грузоподъемности соответствующий электрический сигнал.
Указатель грузоподъемности позволяет определить грузоподъемность крана при работе по следующим грузовым характеристикам: «Работа на опорах», «Телескопирование», «Работа без опор». Определение грузоподъемности производится на шкалах «Работа на опорах» и «Телескопирование» — по перекрестию вертикального и горизонтального визиров; на шкалах «Работа без опор» по горизонтальному визиру; на шкалах «Длина стрелы» — по вертикальному визиру.
Рис. 7.2 Суммирующий механизм ограничителя грузоподъемности крана КС-4572.
На рис. 7.3 изображено положение визиров, что соответствует вполне определенному положению стрелы. В указатель грузоподъемности входит прибор 2, установленный на стойке кабины 8. В приборе 2 горизонтальный визир 9 через систему тяг и рычагов, тягу 4 связан со стрелой 1, а двойной вертикальный визир 10 через тягу 3, закрепленную на рычаге 11, и валик 12 с рычагом 13. Преобразованная длина стрелы от суммирующего механизма, расположенного на стреле 1, передается на поворотную платформу канатом 6, один конец которого закреплен на гайке суммирующего механизма, а другой — на рычаге 13. Перемещение визиров 10 длины стрелы при уменьшении длины стрелы происходит под действием пружины 5.
Рис. 7.3 Указатель грузоподъемности крана КС-4572.
Ограничитель подъема крюка (рис. 7.4) предназначен для автоматического отключения механизма грузовой лебедки при подъеме крюковой подвески на предельную высоту и установлен на оголовке стрелы. На основании 6 установлен конечный выключатель 5. Грузик 3 подвешен на неподвижной ветви грузового каната с помощью троса 4.
Под действием массы грузика постоянно замкнуты контакты выключателя.
При подходе крюковой подвески к головке стрелы приподнимается грузик 3, контакты выключателя размыкаются и обесточивают электромагнит парораспределителя, механизм грузовой лебедки останавливается.
Рис. 7.4 Ограничитель подъема крюка крана КС-4572.
ІІІ. Организационно-экономическая часть
Общая технико–экономическая характеристика объекта.
Автомобильный гидравлический кран грузоподъёмностью 16 тонн, на специальном шасси, предназначен для погрузочно-разгрузочных и строительно-монтажных работ в различных отраслях народного хозяйства.
Новый кран по сравнению с автомобильным гидравлическим краном
КС-45721 на базе шасси Урал-4320 имеет новое отличающееся шасси
КамАЗ-53228. Мощность двигателя увеличилась с 230 л.с. до 260 л.с.
Снизилась и цена шасси.
Применение нового крана, имеющего более высокую несущую способность, значительно повышает производительность новой техники.
Для экономического сравнения в качестве базового варианта (БВ) принимаем автомобильный кран аналогичного типа КС-45721 на базе шасси
Урал-4320.
Кран КС-45721 – гидравлический, с трёхсекционной телескопической стрелой.
Цель анализа – показать, что приобретение нового автомобильного крана КС-4572 на базе шасси КамАЗ-53228 даст гораздо больший экономический эффект, чем приобретение крана на базе шасси Урал-4320.
Исходные данные:
1. Ресурс Т (час)
БВ . . . . . . . . . . . . . . . . . . . . . . . . . . . . . . . . . . . . . 8000
НВ . . . . . . . . . . . . . . . . . . . . . . . . . . . . . . . . . . . . . 8000
2. Коэффициент перевода
машино-часов из моточасов k
. . . . . . . . . . . . . . . . . 0,3
3. Наибольшая скорость подъёма
(опускания) груза V (м/мин)
БВ . . . . . . . . . . . . . . . . . . . . . . 8,5
НВ . . . . . . . . . . . . . . . . . . . . . . . 8,5
4. Наибольшая частота вращения
поворотной части n (об/мин) (БВ и НВ) . . . . . . . . 1,75
5. Срок службы крана Т
(лет) . . . . . . . . . . . . . 10
6. Цена шасси Ц
(руб.)
БВ . . . . . . . . . . . . . . . . . . . . . . 760000
НВ . . . . . . . . . . . . . . . . . . . . . . 690000
7. Оптовая цена Ц (руб.)
БВ . . . . . . . . . . . . . . . . . . . . . . . 2350000
НВ . . . . . . . . . . . . . . . . . . . . . . . 2280000
8. Коэффициент k
. . . . . . . . . . . . . . . . . . . 1,25
8.1. Расчет количества машино-часов работы техники в год по сравниваемым вариантам.
Годовой фонд времени:
Т
=
(Маш ч/год), [10, стр.28]
где
= 247 дней – годовой фонд работы техники.
= 7,75 час – средняя продолжительность смены для техники [10,стр. 28]
= 1,33 – коэффициент сменности работы техники [10,стр. 28].
- простой на всех видах технического обслуживания и ремонта.
( дн /маш),
где
- продолжительность пребывания техники на техобслуживании или
на ремонте, (дни).
- продолжительность ожидания ремонта; доставка в ремонт и обратно,
(дни).
- количество ремонтов или технических обслуживаний за
- межремонтный цикл, (маш/час).
Другие рефераты на тему «Транспорт»:
- Проектирование зоны технического обслуживания грузовых автомобилей, предназначенной для проведения слесарно-механических работ в плановом порядке
- Мореходные качества судна
- Модернизация релейной защиты на тяговой подстанции Улан-Удэ на базе микропроцессорной техники
- Проект новой участковой станции
- Роль грузового автотранспорта
Поиск рефератов
Последние рефераты раздела
- Проект пассажирского вагонного депо с разработкой контрольного пункта автосцепки
- Проектирование автомобильных дорог
- Проектирование автотранспортного предприятия МАЗ
- Производственно-техническая база предприятий автомобильного транспорта
- Расчет подъемного механизма самосвала
- Системы автоблокировки
- Совершенствование организации движения и снижение аварийности общественного транспорта в городе Витебск
