Реализация хладоресурса углеводородных топлив в силовых и энергетических установках
В главе 2 приведены экспериментальные установки для изучения закономерностей образования отложений в условиях жидкофазного окисления углеводородных топлив. Отмечено, что образование низкотемпературных отложений, которые в основном отмечаются на стенках складских топливных резервуаров, фильтрах тонкой очистки заправочных средств, а также в топливных системах самолетов на фильтрах тонкой о
чистки, деталях топливоподающей аппаратуры и в топливомасляных радиаторах могут забивать фильтры, нарушать работу топливорегулирующей аппаратуры и снижать эффективность охлаждения двигателей и теплообменных аппаратов. Обнаружено, что механизм окисления топлив меняется при достижении температур 110 ¸ 130 оС. На рисунке 2 представлены данные по образованию нерастворимых осадков при хранении топлив Т-1, ТС-1 и РТ в зависимости от температуры при статических (при контакте с надтопливным воздухом) условиях.
Как видно из этого рисунка, при низких температурах нет принципиального различия в механизме образования отложений в реактивных топливах. Эти данные соответствуют выводам работ Г.Ф.Большакова (Образование гетерогенной системы при окислении углеводородных топлив/ Большаков Г.Ф. -Наука. Сиб. Отд-ние, 1990. –248 с.), в которой отмечается, что, начиная от температуры начала кристаллизации и до температур начала вытеснения легких фракций, меняется лишь скорость процесса отложения нерастворимых осадков.
Рис.2. Масса нерастворимого осадка, образовавшегося при хранении реактивных топлив в течение 1500 часов на стеклянной поверхности в зависимости от температуры
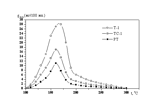
Рис.3. Склонность топлив к образованию нерастворимых осадков при повышенных температурах для статических условий.
С повышением температуры увеличивается количество образующегося за определенное время осадка. Как видно из рисунка 3, при значениях температуры 150 - 170 оС (в зависимости от марки топлива) оно достигает максимума, а с дальнейшим повышением температуры снижается. Объяснение этому можно найти в уменьшении доступа кислорода к топливу по мере роста температуры.
Изучены кинетические закономерности окисления реактивных топлив в контакте с конструкционными материалами топливных систем летательных аппаратов. Обнаружено, что среди исследованных металлов имеются как катализаторы, так и ингибиторы окисления.
Для изучения закономерностей образования коксоотложений при течении различных топлив и горючих в условиях нагрева была смонтирована экспериментальная установка (Рис.4).
В качестве рабочего участка использовались сменные трубки одной партии поставки из стали 12Х18Н9Т, сплава ХН60ВТ, меди М1, в том числе с внутренними покрытиями, длиной от 0,3 до 1,0 м и внутренним диаметром от 1 до 4 мм. Установка имеет разомкнутый топливный контур с горизонтально расположенным рабочим участком, нагреваемым переменным током. Предварительно очищенное от механических примесей топливо с различным содержанием кислорода, смол и непредельных соединений из расходного бака 5 через сетчатые фильтры 4 с ячейками 16 и 5 мкм подавалось насосом 2 марки 661Л в электронагреватель 15, где производился предварительный подогрев топлива. После этого топливо поступало в рабочий участок 17, где происходил его нагрев до заданной температуры.
Рис.4. Экспериментальная установка для изучения закономерностей образования отложений при течении углеводородных топлив в условиях нагрева
1 - бак закачки топлива; 2 - насос; 3 - предохранительный клапан; 4 - фильтр;
5 - расходный бак; 6 - вентиль; 7 - трехходовой кран;8 - штихпробер;
9 - уравнительный бак; 10 - теплообменник; 11 - кран с электроприводом;
12 - датчик расхода; 13 - электроконтактный манометр; 14 - термопара;
15 - электронагреватель; 16 - манометр; 17 - реактор; 18 - холодильник;
19 - регулировочный кран; 20 - топливо-газовый отделитель;
21 - газовый счетчик ; 22 - кран управления; 23 - топливный бак;
Ввиду того, что веществами, обусловливающими образование кокса при нагреве различных топлив, являются растворенные в них кислород, смолы, ненасыщенные соединения и др. химически активные примеси, а также вещества, находящиеся в топливе в виде коллоидных и микрогетерогенных частиц, были проведены исследования закономерностей образования коксоотложений при течении топлив в условиях варьирования концентраций этих примесей. Концентрация растворенного в топливе кислорода (в топливном баке) варьировалась от 5,0 % (равновесная концентрация при нормальных условиях) до 0,2 % (объемн). Уменьшение концентрации растворенного кислорода -обескислороживание - осуществлялось посредством барботажа топлива в баке инертным газом (N2, Ar, He) до требуемого содержания остаточного кислорода при нормальных условиях. Содержание остаточного кислорода варьировалось посредством выбора инертного газа и времени барботирования (Рис. 5) с целью изучения влияния концентрации растворенного кислорода на скорость образования кокса на стенках канала. Как видно из этого рисунка, наилучший результат по вытеснению кислорода как для топлива РТ, так и других реактивных топлив РТ, ТС-1 обнаружен при барботировании с применением газа гелия.
Рис.5. Зависимость содержания остаточного кислорода в топливе РТ от времени барботажа инертного газа. 1- азот; 2-гелий.
Объем топлива ‑15 л. Расход газа - 9.10-4 кг/c.
Закономерности образования кокса в трубках определяли при постоянных режимных параметрах. Давление и температуру топлива на входе в рабочий участок изменяли от 0,5 до 8,0 МПа (Р/Ркр=0,2‑3,6) и от 10 до 150 оС (Т/Ткр=0,5‑0,75), соответственно через заданные промежутки времени. Режимы течения топлива в трубках ‑ламинарный, переходный и турбулентный. После испытания трубки разрезали на отдельные отрезки длиной по 50 мм, отложения фотографировали со 100- и 2000-кратным увеличением с использованием сканирующего микроскопа DSМ - 960 Opton. Средние величины шероховатости и пористости отложений определялись путем статистической обработки результатов микроисследований.
Эксперименты показали, что коксоотложения представляют собой мелкопористую структуру, сформированную из отдельных сфероподобных глобул. Характерное счетное распределение этих глобул по эквивалентным диаметрам приведено на рисунке 6, где Fi ‑число глобул в Di - интервале диаметров, FS - суммарное число глобул. Видно, что глобулы имеют характерные размеры 15 - 25 мкм.
Рис.6. Счетное распределение частиц коксоотложений по диаметрам.
Другие рефераты на тему «Физика и энергетика»:
- Полупроводниковые наноструктуры
- Классификация микрочастиц - фермионы и бозоны; лептоны; кварки; адроны; нуклоны
- Проектирование и расчет электрического освещения
- Относительная скорость инерциальных систем
- ЭМА с применением электролиза, электрогравиметрия, внешний и внутренний электролиз, кулонометрия
Поиск рефератов
Последние рефераты раздела
- Автоматизированные поверочные установки для расходомеров и счетчиков жидкостей
- Энергосберегающая технология применения уранина в котельных
- Проливная установка заводской метрологической лаборатории
- Источники радиации
- Исследование особенностей граничного трения ротационным вискозиметром
- Исследование вольт-фарадных характеристик многослойных структур на кремниевой подложке
- Емкость резкого p-n перехода
