Эксимерные лазеры
Рисунок 7. Микроструктура, полученная фотолитографическим методом
В случае получения недостаточно малых размеров создаваемых лазером пятен возможно применение технологии иммерсионной фотолитографии. Основным отличием технологии является тот факт, что между проекционной системой и кремниевой пла
стиной помещается слой жидкости с коэффициентом преломления большим, нежели у газовой смеси. Зачастую для этих целей используется обыкновенная очищенная вода.
3.2.2 Лазерная хирургия. Пример пересчета параметров лазерного излучения
Лазерная коррекция зрения на сегодняшний день является самым прогрессивным направлением современной офтальмологии. С помощью новейших методик возможно эффективное лечение близорукости, дальнозоркости и астигматизма, при этом результаты лечения остаются неизменными в течение всей жизни.
В 80-х гг. ХХ века появилась новая технология - эксимер-лазерная коррекция зрения. Лазерный луч, управляемый специальным компьютером по заданной программе перепрофилирования роговицы, устраняет дефекты оптической линзы глаза и выравнивает ее поверхность таким образом, чтобы лучи света, проецируемые хрусталиком, четко фокусировались на сетчатке.
Сегодня широко применяются два метода лазерной коррекции зрения: PRK (ФРК - фоторефрактивная кератэктомия) и LASIK (лазерный кератомилез).
Метод ФРК является первой попыткой использовать эксимерный лазер для медицинских целей. Суть данного метода восстановления зрения заключается в устранении неровностей роговицы путем выпаривания ее тканей. Этот метод является бесконтактным. Однако у метода ФРК есть некоторые недостатки: микроэрозия, возникающая в ходе операции, заживает в течение двух дней. При этом пациент испытывает болевые ощущения.
Метод LASIK - это сочетание микрохирургического воздействия и эксимер-лазерной технологии. Он позволяет сохранить анатомию слоев роговицы, что значительно снижает неприятные ощущения у пациента во время реабилитации после операции. В ходе лазерной коррекции зрения методом LASIK используется автоматический микрохирургический прибор (микрокератом), который срезает верхний слой роговицы, открывая лазерному лучу доступ к более глубоким слоям глазной линзы. Проводится выравнивание роговицы - микро-испарение ткани с внутренних слоёв роговицы на заданное количество микрон для придания нужной кривизны в центральной зоне без повышения температуры ткани, после чего отделенный слой возвращается на место и фиксируется за счет коллагена, вещества роговицы.
Обеспечение перестройки длины волны лазерного излучения. Сужение полосы пропускания резонатора на основной длине волны.
Благодаря короткой длине волны излучения, высокой мощности импульса, высокой стабильности мощности и направленности пучка лазеры серии LPX немецкой фирмы Lambda Physik позволяют проводить очень точную обработку материалов (с разрешением до 2 мкм).
При создании установок для микролитографии с использованием линзовых оптических систем объектива и осветителя приходится использовать эксимерный лазер с очень высокой монохроматичностью. Причиной этого являются трудности, возникающие при ахроматизации кварцевой оптики. Отклонение длины волны лазерного излучения (если основная длина волны
нм) составляет около
нм!
Предлагается дополнить резонатор существующего эксимерного лазера диспергирующим элементом с целью обеспечения перестройки длины волны и сужения диапазона
.
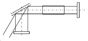
Предлагается использовать схему дисперсионного резонатора с двумя концевыми зеркалами и отражательной дифракционной решеткой между ними (рис.5).
Рисунок 5.
Дисперсия такого резонатора становится максимальной при скользящем угле падения света на решетку
. В этом случае избирательность резонатора значительно выше, чем с автоколлимационной решеткой (угол падения равен углу дифракции).
Отсутствие неселективного (нулевой порядок) обратного отражения в активную среду резко снижает интенсивность сверхлюминесцентного фона в выходном узкополосном излучении.
Принципиальный недостаток резонаторов "со скользящим падением" - низкая дифракционная эффективность. Поэтому они используются в основном в лазерах с высоким усилением (в том числе эксимерных).
Для такого резонатора полоса пропускания по уровню 0.5 составляет
, (1)
где
- радиус пучка до дифракционной решетки (в активной среде);
- угол дифракции;
- коэффициент телескопичности.
Длину волны перестройки резонатора такого типа наиболее удобно менять вращением ближайшего к решетке концевого зеркала. При скользящем падении излучения на решетку перестройка производится по закону
(2)
и коэффициент перестройки
, (3)
- период решетки, мм.
Основное уравнение дифракционной решетки выглядит следующим образом
. (4)
При скользящем падении и угле дифракции близком к нулю период решетки примерно равен длине волны падающего излучения.
Итак, используем резонатор "со скользящим падением" (
), где дифракционная решетка работает во втором порядке (65 - 70%), а нулевой порядок используется для вывода излучения из резонатора.
Рассчитываем решетку на основную длину волны
нм, работающую во втором порядке, с периодом
нм.
Из основного уравнения дифракционной решетки видно, что
и, следовательно, угол дифракции
. При таком соотношении углов
и
телескопичность
.
Оценим полосу пропускания резонатора с такой решеткой:
Другие рефераты на тему «Физика и энергетика»:
- Изучение скорости горения высокоэнергетических смесевых твердых топлив
- Процесс построения опоры для линии электропередачи в условиях ветрености - необходимые качества
- Установка для определения релаксационных характеристик низкомодульных полимерных материалов
- Электромагнитные переходные процессы
- Определение тепловых потерь теплоизолированного трубопровода
Поиск рефератов
Последние рефераты раздела
- Автоматизированные поверочные установки для расходомеров и счетчиков жидкостей
- Энергосберегающая технология применения уранина в котельных
- Проливная установка заводской метрологической лаборатории
- Источники радиации
- Исследование особенностей граничного трения ротационным вискозиметром
- Исследование вольт-фарадных характеристик многослойных структур на кремниевой подложке
- Емкость резкого p-n перехода
