Оценка условий труда на рабочем месте и разработка комплекса мероприятий по их улучшению
3. Разработка мероприятий по улучшению условий труда
По составленной карте условий труда видно, что на рабочем месте превышены ПДК и ПДУ по следующим факторам:
1. Вредные вещества
2. АПФД
3. Вибрация
4. Шум
5. Инфразвук
6. Ультразвук
7. Неионизирующие излучения
8. Микроклимат
9. Освещение
10. Тяжесть труда
3.1 Расчет средств защиты по установлен
ным ОВПФ
Расчёт виброизоляции
Средства и методы защиты от вибрации, применяемые для защиты работающих, по отношению к защищаемому объекту подразделяются на:
· методы и средства индивидуальной защиты:
· по месту контакта оператора с вибрирующим объектом,
· по форме исполнения;
· методы и средства коллективной защиты:
· снижение вибрации в источнике образования,
· вибродемпфирование,
· виброизоляция,
· виброгашение колебаний.
Для снижения вибрации от источника вибрации необходимо провести его виброизоляцию. Основу большинства виброзащитных средств составляют виброизоляторы. По конструкции виброизоляторы, применяемые в машиностроении, подразделяются на:
· пружинные,
· пневматические,
· цельнометаллические,
· комбинированные,
· резинометаллические,
· резиновые.
Резиновые виброизоляторы имеют форму параллелепипедов или цилиндров, которые могут быть сплошными или пустотелыми. Резиновые элементы должны иметь конструкцию, допускающую деформацию в боковые стороны.
Расчет эффективности виброизоляции:
Превышение вибрации на рабочем месте DL = 110 - 93 = 17 дБ. Частота fВ = 8 Гц в соответствии с заданием. Т.к. требуемое снижение вибрации приближённо равно её эффективности, то можно найти fС (частота собственных колебаний виброизолируемого объекта, Гц).
DLВ = 20*lg (fВ / fС) » DL = 17.
Отсюда fC = 1.13 Гц.
Пусть масса установки равна 1000 кг, тогда жёсткость виброизоляторов
K = (P*fC 2)/25 = 510.76 (кг*с)/см.
Установка установлена на четырёх одинаковых виброизоляторах Þ
k = K/n = 127.7 (кг*с/см).
Такой жёсткости соответствует стандартный виброизолятор типа АКСС-15М [5].
В итоге вибрация снижена до 93 дБ, т.е. до нормы.
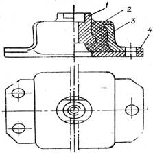
Виброизолятор типа АКСС:
1 – несущая планка-втулка;
2 – резиновый массив;
3 – скоба;
4 – нижняя планка.
Расчёт и проектирование средств шумозащиты
Повышенный шум является одним из наиболее распространенных вредных и опасных производственных факторов. Повышенный шум воздействует как на органы слуха, так и на весь организм.
Средства и методы коллективной защиты от шума в зависимости от способа реализации подразделяются на: акустические; архитектурно-планировочные (рациональное размещение рабочих мест, оборудования, машин, механизмов, рациональная планировка здания); организационно-технические (применение малошумных технологических процессов, малошумных машин, оснащение шумных машин средствами дистанционного управления и автоматического контроля).
Акустические средства защиты от шума в зависимости от конструкции подразделяются на: средства звукоизоляции; звукопоглощения (звукопоглощающие облицовки); виброизоляции (виброизоляторы, упругие прокладки); демпфирования.
Средства звукоизоляции являются основными средствами защиты от шума в машиностроении. Звукоизолирующие перегородки устанавливаются там, где необходимо отделить источник повышенного шума от остального помещения. Звукоизолирующие кабины устанавливаются в шумных помещениях для наблюдения или управления разнообразными технологическими процессами. Звукоизолирующие капоты устанавливаются на источники повышенного шума, расположенные в помещение, обслуживание которых не требует непосредственного доступа к ним или автоматизировано. Акустические экраны устанавливаются вблизи шумных источников, создавая за ними зону акустической тени.
Для защиты от ультразвукового воздействия приемлемы те же методы и способы, которые применимы к акустическому излучению в слышимом диапазоне.
Зададим размеры источника шума. Пусть l = 1 м, lmax = 2 м. По заданию расчёт произвожу для частоты 31.5 Гц. УЗД31.5 = 95-5 = 90 дБ = L
Одним из эффективных способов снижения шума в производственных помещениях является устройство звукоизолирующих кожухов, полностью закрывающих наиболее шумные агрегаты.
Рассчитаем такой кожух. Требуемая акустическая эффективность звукоизолирующего кожуха определяется по формуле:
DLэф тр = L – Lдоп + 5 = 90 – 80 + 5 = 15 дБ.
Акустическая эффективность кожуха определяется по формуле:
DLкож = Rк + 10*lg a – Dотв;
где a – приведённый коэффициент звукоизоляции кожуха; Dотв – поправка на уменьшение звукоизоляции за счёт наличия отверстий, при площади отверстий до 5% от общей площади ограждений кожуха, принимается Dотв = 3¸5 дБ; Rк – звукоизолирующая способность стенки кожуха (определяется поверхностной плотностью и жёсткостью, и увеличивается при нанесении на стенку кожуха слоя звукопоглощающего материала).
a = (aобл * Sобл + aн * Sн + aотв * Sотв + aист * Sист ) / (Sобл + Sн + Sотв + Sист);
где aобл – коэффициент звукопоглощения звукопоглощающей облицовки; Sобл – площадь звукопоглощающей облицовки; aн – коэффициент звукопоглощения необлицованных областей; Sн – площадь необлицованных областей; aотв – коэффициент звукопоглащения отверстий; Sотв – площадь отверстий; aист – коэффициент звукопоглащения источника;
Sист – площадь источника.
Пусть aобл = 0, aн =0.01, aист = 0.03, aотв = 1, Sобл = 0, Sн = 3, Sист =2, Sотв = 3* Sн/100 = 0.09, тогда a = 0.035, 10*lg a = – 14.56.
Требуемая звукопоглощающая способность стенки кожуха определяется по формуле:
Rк тр = DLэф тр + Dотв – 10*lg a = 15 + 5 + 14.56 = 34.5 дБ;
Rк > Rк тр Þ Rк = 50 дБ; DLкож = 50 – 14.56 – 5 = 30.44.
Кожухи могут выполняться из стали, дюралюминия, стеклопластика, фанеры и других материалов. Данный кожух выполняется из стали толщиной 20мм.
Lфактич. = L - DLкож +5 = 95 – 30.44 + 5 = 69.56 дБ.
УЗД = 69.56+5 = 74.56. В итоге шум снижен до уровня 74.56 дБ.
Звукоизолирующий кожух:
1 - кожух; 2 - вторичный глушитель;
3 - первичный глушитель; 4 - гибкие соединения;
5 - глушитель на впуске воздуха;
6 - звуконепроницаемая дверь; 7 - виброизолятор;
8 - глушитель на выпуске воздуха.
Расчёт защиты воздуха рабочей зоны от вредных веществ и аэрозолей
Для поддержания в производственных помещениях нормальных параметров воздушной среды устраивают вентиляцию. В зависимости от направления воздушного потока вентиляционные системы подразделяют на приточные, вытяжные или приточно-вытяжные, а по характеру охвата производственного помещения воздухообменом – на общеобменные и местные.
Воздух, поступающий в помещение через неплотности ограждающих конструкций не содержит вредных веществ, поэтому применяем местную вытяжную вентиляцию, схема которой представлена на рисунке:
Другие рефераты на тему «Безопасность жизнедеятельности и охрана труда»:
- Первая помощь при ЧС - ожоги, отравления, переломы
- Игровая деятельность как средство развития творческих способностей учащихся на уроках основ безопасности жизнедеятельности
- Начальная подготовка по безопасности и инструктажу для моряков
- Психология обеспечения безопасности дорожного движения
- Защита населения от радиоактивного загрязнения. Первая помощь при травмах. Алкогольная интоксикация
Поиск рефератов
Последние рефераты раздела
- О средствах защиты органов дыхания от промышленных аэрозолей
- Обзор результатов производственных испытаний средств индивидуальной защиты органов дыхания (СИЗОД)
- О средствах индивидуальной защиты от пыли
- И маски любят счёт
- Правильное использование противогазов в профилактике профзаболеваний
- Снижение вредного воздействия загрязнённого воздуха на рабочих с помощью СИЗ органов дыхания
- О средствах индивидуальной защиты органов дыхания работающих
