Производственная вентиляция
Расход воздуха G, который протекает через отверстие, имеющее площадь F, вычисляют по формуле:
,
где G — массовый секундный расход воздуха, т/с; m — коэффициент расхода, зависящий от условий истечения; r — плотность воздуха в исходном состоянии, кг/м3;
— разн
ость давлений внутри и снаружи помещения в данном отверстии, Па.
Ориентировочное количество воздуха, выходящего из помещения через 1 м2 площади отверстия, с учетом только теплового давления и при условии равенства площадей отверстий в стенках и фонарях и коэффициенте расхода m = 0,6 можно определить по упрощенной формуле:
,
где L — количество воздуха, м3/ч; Н — расстояние между центрами нижних и верхних отверстий, м;
— разность температур: средней (по высоте) в помещении и наружной, ° С.
Аэрация с использованием ветрового давления основана на том, что на наве-тренных поверхностях здания возникает избыточное давление, а на заветренных сторо-нах разрежение. Ветровое давление на поверхности ограждения находят по формуле:
,
где k — аэродинамический коэффициент, показывающий, какая доля динамического давления ветра преобразуется в давление на данном участке ограждения или кровли. Этот коэффициент можно принять в среднем равным для наветренной стороны + 0,6, а для подветренной — -0,3.
Естественная вентиляция дешева и проста в эксплуатации. Основной ее недостаток заключается в том, что приточный воздух вводится в помещение без предварительной очистки и подогрева, а удаляемый воздух не очищается и загрязняет атмосферу. Естественная вентиляция применима там, где нет больших выделений вредных веществ в рабочую зону.
Искусственная (механическая) вентиляция устраняет недостатки естественной вентиляции. При механической вентиляции воздухообмен осуществляется за счет напора воздуха, создаваемого вентиляторами (осевыми и центробежными); воздух в зимнее время подогревается, в летнее—охлаждается и кроме того очищается от загрязнений (пыли и вредных паров и газов). Механическая вентиляция бывает приточной, вытяжной, приточно-вытяжной, а по месту действия — общеобменной и местной.
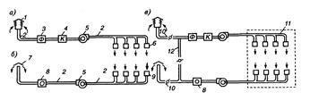
При приточной системе вентиляции (рис. 4.4, а) производится забор воздуха извне с помощью вентилятора через калорифер, где воздух нагревается и при необходимости увлажняется, а затем подается в помещение. Количество подаваемого воздуха регулируется клапанами или заслонками, устанавливаемыми в ответвлениях. Загрязненный воздух выходит через двери, окна, фонари и щели неочищенным.
При вытяжной системе вентиляции (рис. 4.4, б) загрязненный и перегретый воздух удаляется из помещения через сеть воздуховодов с помощью вентилятора. Загрязненный воздух перед выбросом в атмосферу очищается. Чистый воздух подсасывается через окна, двери, неплотности конструкций.
Приточно-вытяжная система вентиляции (рис. 4.4, в) состоит из двух отдельных систем — приточной и вытяжной, которые одновременно подают в помещение чистый воздух и удаляют из него загрязненный. Приточные системы вентиляции также возмещают воздух, удаляемый местными отсосами и расходуемый на технологические нужды: огневые процессы, компрессорные установки, пневмотранспорт и др.
Для определения требуемого воздухообмена необходимо иметь следующие исходные данные: количество вредных выделений (тепла, влаги, газов и паров) за 1 ч, предельно допустимое количество (ПДК) вредных веществ в 1 м3 воздуха, подаваемого в помещение.
Рис. 4.4. Схема приточной, вытяжной и приточно-вытяжной механической вентиляции: а — приточная; 6 — вытяжная; в — приточно-вытяжная; 1 — воздухоприемник для забора чистого воздуха; 2 — воздуховоды; 3 — фильтр для очистки воздуха от пыли; 4 — калориферы; 5 — вентиляторы; 6 — воздухораспределительные устройства (насадки); 7 — вытяжные трубы для выброса удаляемого воздуха в атмосферу; 8 — устройства для очистки удаляемого воздуха; 9 — воздухозаборные отверстия для удаляемого воздуха; 10 — клапаны для регулирования количества свежего вторичного рециркуляционного и выбрасываемого воздуха; 11 — помещение, обслуживаемое приточно-вытяжной вентиляцией; 12 — воздуховод для системы рециркуляции
Для помещений с выделением вредных веществ искомый воздухообмен L, м3/ч, определяется из условия баланса поступающих в него вредных веществ и разбавления их до допустимых концентраций. Условия баланса выражаются формулой:
,
где G — скорость выделения вредного вещества из технологической установки, мг/ч; Gпр — скорость поступления вредных веществ с притоком воздуха в рабочую зону, мг/ч; Gуд — скорость удаления разбавленных до допустимых концентраций вредных веществ из рабочей зоны, мг/ч.
Заменив в выражении Gпр и Gуд на произведение
и
, где
и
— соответственно концентрации (мг/м3) вредных веществ в приточном и удаленном воздухе, a
и
объем приточного и удаляемого воздуха в м3 за 1 час, получим
![]()
=
Для поддержания нормального давления в рабочей зоне должно выполняться равенство
, тогда
![]()
-
Необходимый воздухообмен, исходя из содержания в воздухе водяных паров, определяют по формуле:
,
где
— количество удаляемого или приточного воздуха в помещении, м3/ч; Gп — масса водяного пара, выделяющегося в помещении, г/ч;
— влагосодержание удаляемого воздуха, г/кг, сухого воздуха;
— влагосодержание приточного воздуха, г/кг, сухого воздуха; r — плотность приточного воздуха, кг/м3.
Влагосодержание d (г/кг) воздуха, т.е. отношение массы водяного пара, содержащегося во влажном воздухе, к единице массы сухого воздуха определяют по формуле:
Другие рефераты на тему «Безопасность жизнедеятельности и охрана труда»:
- Охрана труда на производстве. Анализ условий труда телефонистки
- Обмен веществ в организме и защитные механизмы. Общие требования безопасности технических средств и технологических процессов
- Типовое положение о профессиональных военизированных аварийно-спасательных формированиях
- Оказание первой доврачебной медицинской помощи
- Охрана труда в помещении лаборатории
Поиск рефератов
Последние рефераты раздела
- О средствах защиты органов дыхания от промышленных аэрозолей
- Обзор результатов производственных испытаний средств индивидуальной защиты органов дыхания (СИЗОД)
- О средствах индивидуальной защиты от пыли
- И маски любят счёт
- Правильное использование противогазов в профилактике профзаболеваний
- Снижение вредного воздействия загрязнённого воздуха на рабочих с помощью СИЗ органов дыхания
- О средствах индивидуальной защиты органов дыхания работающих
