Разработка оборудования для уплотнения балластной призмы
.
Находится изгибающий момент в точках 1, 2, 3 (рисунок 2.11, д):
;
.
Максимальный момент приложен в точке 3 под зубчатым колесом:
;(2.71)
.
Приведённый момент по формуле (2.64):
.
Тогда наименьший диаметр вала равен по формуле (2.66):
.
Конструктивно принимаем диаметр ведущего вала вибровозбудителя d=0,04м.
2.4.2.1 Выбор подшипников
По ГОСТ 5720 – 75 выбран радиальный сферический двухрядный шарикоподшипник [2]:
№1208 C = 19кН; d = 40 мм; D = 80 мм; B = 18 мм.
Проверяют его на динамическую грузоподъёмность по условию (2.67).
Эквивалентная нагрузка по формуле (2.70):
.
Срасч.=16,21/3·865,15=2189 H < Стаб.
Условие (2.67) выполняется – подшипник выбран верно.
2.5 Расчёт и выбор шпонки
Размеры призматических шпонок (рисунок 2.12): ширина b, высота h, глубина паза t1 и ступицы t2 выбираем в зависимости от диаметра вала.
Длину шпонки принимаем из стандартного ряда на 5 – 10 мм меньше длины ступицы.
Рисунок 2.12-Призматическая шпонка
Выбранную шпонку проверяют на смятие:
;(2.72)
где
- допускаемое напряжение смятия, МПа, для H7/h6
= 80 … 120 МПа) ;
- расчётная длина шпонки, мм (lp=l – b).
Результаты расчётов сведём в таблицу 2.2.
Таблица 2.2 - Результаты расчетов
|
№ вала |
1 (ведущий) |
2 (вал-шестер.) |
2 (вал-дебал.) |
|
Т, Н |
120,43 |
97,125 |
97,125 |
|
d, мм |
40 |
40 |
40 |
|
в, мм |
12 |
12 |
12 |
|
h, мм |
8 |
8 |
8 |
|
t1, мм |
5 |
5 |
5 |
|
t2, мм |
3,3 |
3,3 |
3,3 |
|
l, мм |
36 |
36 |
80 |
|
lр, мм |
24 |
24 |
68 |
|
|
76 |
61,3 |
21,6 |
|
|
80 |
80 |
80 |
Прочность по условию (2.72) достаточна.
Шпонка призматическая (по ГОСТ 23360-78) [2].
Для соединения вал-зубчатое колесо: Шпонка 12x8x36 ГОСТ 23360-78.
Для соединения вал-шестерня: Шпонка 12x8x36 ГОСТ 23360-78.
Для соединения вал-дебаланс: Шпонка 12x8x36 ГОСТ 23360-78.
2.6 Выбор и расчёт подвески виброплиты
Эскизная компоновка виброплиты приведена на (Рисунке 2.13).
Подвеска виброплиты соответствует подвеске уплотнителя откосов, установленного на машине ВПО- 3000. Разница в том, что механизм подъёма и опускания – гидравлический.
Расчёт подвески виброплиты сводится к расчёту и выбору гидроцилиндров и расчёту рессор.
2.6.1 Расчёт и выбор гидроцилиндров
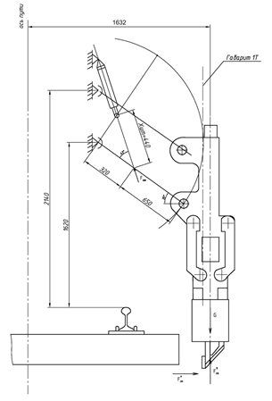
Для определения длины хода поршня Xпор и усилия на штоке Fшт изобразим в масштабе расчётную схему рабочего оборудования (Рисунок 2.15).
Усилие на штоке определим для двух неблагоприятных случаев нахождения виброплиты.
1) Виброплита находится в нижнем положении при подъёме (вертикальная статическая сила прижатия Fвст к балласту (Рисунок 2.15) не действует) (Рисунок 2.14).
Рисунок 2.14-Схема к определению усилия на штоке
Рисунок 2.15-Расчетная схема к определению длины хода поршня и усилия на шток
:
;
, (2.73)
где
- масса рабочего оборудования, кг [5].
,(2.74)
где
- приведённая масса виброплиты, кг (
=460 кг);
- масса рамы, кг (
=682 кг [5]);
- масса установки электродвигателя, кг;
- масса элементов присоединения, кг ( Принято
=100кг);
- масса щеки, кг (
=72 кг [5]).
,(2.75)
где
- масса электродвигателя, кг (
=160кг);
- масса элементов установки, кг (Принято
=70кг).
.
Другие рефераты на тему «Транспорт»:
- Особенности входа в поворот многоосных автомобилей с различными схемами управляемых осей
- Проект модернизации одноковшового экскаватора с целью повышения производительности и экономической эффективности
- Электромагнитные реле железнодорожной автоматики
- Производство газового оборудования для автомобилей и специфика перевода автомобилей на газовое топливо
- Пассажирские станции
Поиск рефератов
Последние рефераты раздела
- Проект пассажирского вагонного депо с разработкой контрольного пункта автосцепки
- Проектирование автомобильных дорог
- Проектирование автотранспортного предприятия МАЗ
- Производственно-техническая база предприятий автомобильного транспорта
- Расчет подъемного механизма самосвала
- Системы автоблокировки
- Совершенствование организации движения и снижение аварийности общественного транспорта в городе Витебск
