Тема "Разрезы" в школьном курсе черчения и её влияние на развитие пространственного мышления
Наклонным называется разрез при секущей плоскости, составляющей с горизонтальной плоскостью проекций угол, отличный от прямого (рис. 5).
 
 
Рис.4. Образование и построение горизонтального разреза.
Вертикально расположенная секущая плоскость может быть параллельна фронтальной или профильной плоскости проекций, образуя п
ри этом соответственно фронтальный или профильный разрез.
Вертикальный разрез при секущей плоскости, параллельной фронтальной плоскости проекций, называется фронтальным разрезом (см. рис. 1.в).
Вертикальный разрез при секущей плоскости, параллельной профильной плоскости проекций, называется профильным разрезом (рис. 6).
|  | 
Местным разрезом называется разрез, служащий для выяснения устройства предмета лишь в отдельном ограниченном месте.
 
 
Рис.8. Расположение разрезов.
|  | 
Расположение и обозначение разрезов
 
 
Рис.7. Чертеж с различными разрезами.
На одном чертеже может быть несколько разрезов, например фронтальный, горизонтальный и профильный (рис. 3 и 7).
При определении количества необходимых разрезов стремятся дать наименьшее их количество, обеспечив при этом достаточную ясность чертежа.
Фронтальный разрез обычно располагают на месте главного вида, профильный — на месте вида слева, а горизонтальный — на месте вида сверху.
Когда секущая плоскость совпадает с плоскостью симметрии предмета в целом и соответствующие изображения расположены на одном и том же листе в непосредственной проекционной связи и не разделены какими-либо другими изображениями, для горизонтальных, фронтальных и профильных разрезов не отмечают положение секущей плоскости и сам разрез не сопровождают надписью (см. рис. 1, в; 4; 6).
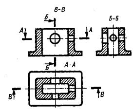
В остальных случаях положение секущей плоскости указывают на чертеже линией сечения (см. рис. 3). Для линии сечения применяют разомкнутую линию. На начальном и конечном штрихах ее наносят стрелки, указывающие направление взгляда. Начальный и конечный штрихи разомкнутой линии не должны пересекать контур изображения.
У начала и конца линии сечения ставится одна и та же прописная буква русского алфавита, например А — А; Б — Б и т. д. Подбирают и наносят на чертеже буквы так же, как и для сечений. Буквы у линии сечения и у стрелок должны быть большего размера, чем цифры размерных чисел на том же чертеже. Разрез должен быть отмечен надписью по типу А — А (всегда двумя буквами через тире) (см. рис. 3).
Обозначения, относящиеся к разрезам и сечениям, располагают параллельно основной надписи. Вертикальный разрез при секущей плоскости, не параллельной фронтальной или профильной плоскости проекций, а также наклонный разрез строят и располагают в соответствии с для того чтобы показать высоту выступа и что цилиндрическое отверстие, просверленное в нем, сквозное. Этот наклонный разрез расположен в соответствии с направлением, указанным стрелками, идущими к линии сечения А — А.
Разрез Б — 5 по своему расположению не соответствует направлению, указанному стрелками, он повернут, поэтому после обозначения разреза нанесено условное графическое обозначение  .
. 
Местный разрез
|  | 
 
 
Рис.9.Детали, при вычерчивании которых необходим местный разрез
При вычерчивании сплошных (непустотелых) деталей разрезы не применяют. Однако нередки случаи, когда в сплошной детали имеется углубление или отверстие, форму которого нужно показать. Примерами таких деталей являются валик со шпоночной канавкой, ось с центровыми отверстиями, шатун и др. (рис. 9). В таких случаях вычерчивают местный разрез, служащий для выявления устройства детали в ее отдельном ограниченном месте.
На рис. 10 показано построение местного разреза.
Ступенчатый валик имеет небольшое отверстие.
|  | 
 
 
Рис.10.Построение местного разреза.
Выполнение полного разреза здесь нецелесообразно, так как чертеж от этого не станет яснее, а трудоемкость его выполнения возрастет. Отверстие вдоль его оси мысленно рассечено секущей плоскостью, проходящей не через всю деталь, а лишь в месте, где имеется отверстие. Разрез ограничен волнистой линией. На изображении детали, в месте расположения отверстия, построен разрез по правилам, изложенным в предыдущих параграфах.
Местный разрез ограничивают сплошной волнистой линией толщиной от s/З до s/2, проводимой от руки.
Эта линия не должна совпадать с какими-либо линиями изображения. На рис. 11 показан местный разрез, выполненный правильно и неправильно. Неправильность заключается в том, что линия, ограничивающая местный разрез, совпала с линией контура.
Примеры местных разрезов показаны на рис. 12. Здесь даны два вида цилиндрического ступенчатого вала, который имеет стопорное глухое отверстие и шпоночную канавку. Чтобы выявить форму этих элементов сплошной детали, выполнены местные разрезы.
|  | 
 
 
Рис.12. Местные разрезы на чертеже оси.
 
 
Рис.11.Правильное и ошибочное выполнение местного разреза.
Соединение части вида и части разреза
 
 
Рис.13.Соединение части вида части разреза
Форма многих деталей такова, что при их изображении недостаточно дать только вид или только разрез, так как по разрезу иногда нельзя представить внешнюю форму детали. При изображении подобных деталей необходимо дать как вид, так и разрез, т. е. выполнить два разных изображения, на что уходит много времени и места. Поэтому допускается соединять на одном изображении часть вида и часть соответствующего разреза. При этом вид и разрез разделяют сплошной волнистой линией той же толщины и начертания, что применяют для выделения местного разреза.
Другие рефераты на тему «Педагогика»:
- Развитие речи у детей с ДЦП
- Особенности самооценки старших школьников с разными типами межличностных отношений в классе
- Культурно-досуговая деятельность как средство развития социальной компетентности будущего специалиста
- Обучение математике в детском саду
- Коррекционно-развивающая работа на логопедических занятиях с умственно отсталыми учащимися
Поиск рефератов
Последние рефераты раздела
- Тенденции развития системы высшего образования в Украине и за рубежом: основные направления
- Влияние здоровьесберегающего подхода в организации воспитательной работы на формирование валеологической грамотности младших школьников
- Характеристика компетенций бакалавров – психологов образования
- Коррекционная программа по снижению тревожности у детей младшего школьного возраста методом глинотерапии
- Формирование лексики у дошкольников с общим недоразвитием речи
- Роль наглядности в преподавании изобразительного искусства
- Активные методы теоретического обучения
